Flanged AWWA C515 NRS Resilient Seated Gate Valve
Feature
● Design Standard AWWA C515
● Non-Rising stem, Resilient Seated
● Face to Face: ASME B16.10.
● Flanges Standard: AWWA C110/A21.10,ASME B16.1 AWWA C515(Other Flange Types available upon request)
● Inspection & testing: AWWA C515.
● Fusion Bonded Epoxy Coated Interior and Exterior to AWWA C550 Standard
USE
● Working Pressure:250PSI
(200 and 300 PSI available on request)
● Working Temperature:-20℃ to 100℃(-4°F to 212°F)
● Operator: Handwheel , 2”Operating Nut,Gearbox
● UL/FM approved
Advantage
● Small torque for easier open&close
● We have traceable markings for each valve
● We do pressure test for 100% quantity
● We do FBE coating test for each valve
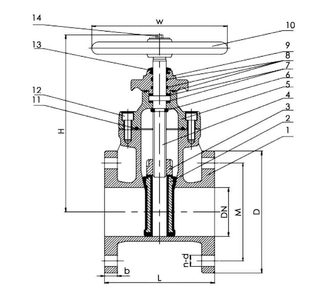
Drawing
Material
| NO. | Part | Material(ASTM) |
|---|---|---|
| 1 | Body | Ductile lron ASTM A536 |
| 2 | Wedge | Ductile lron EPDM/NBR Encapsulated |
| 3 | Wedge Nut | Brass ASTM B124 C37700 |
| 4 | Stem | Stainless Steel AISI 420 |
| 5 | Bonnet | Ductile lron ASTM A536 |
| 6 | Wedge Nut Gasket | Rubber NBR |
| 7 | Washers | Nylon/Brass ASTM B124 C37700 |
| 8 | O-ring | Rubber NBR |
| 9 | Gland | Ductile lron ASTM A536 |
| 10 | Handwheel | Ductile lron ASTM A536 |
| 11 | Bonnet Gasket | Rubber NBR |
| 12 | Bonnet/Gland Bolt | Grand 8 Steel With ZINC Plated |
| 13 | Dust Cap | Rubber NBR |
| 14 | Handwheel Bolts | Stainless Steel AISI304 |
Dimension
| in | L | H | M | D | W | n-d | b | |||||||
|---|---|---|---|---|---|---|---|---|---|---|---|---|---|---|
| mm | inch | mm | inch | mm | inch | mm | inch | mm | inch | mm | inch | mm | inch | |
| 2” | 178 | 7 | 245 | 9.64 | 120.5 | 4.74 | 152 | 5.98 | 180 | 7.08 | 4-19 | 4-0.75 | 16 | 0.63 |
| 2.5” | 190 | 7.48 | 258 | 10.15 | 139.5 | 5.49 | 178 | 7 | 180 | 7.08 | 4-19 | 4-0.75 | 18 | 0.7 |
| 3” | 203 | 7.99 | 275 | 10.82 | 152.5 | 6 | 191 | 7.51 | 200 | 7.87 | 4-19 | 4-0.75 | 19.1 | 0.75 |
| 4” | 229 | 9.01 | 333 | 13.11 | 190.5 | 7.5 | 229 | 9 | 250 | 9.84 | 8-19 | 8-0.75 | 19.1 | 0.75 |
| 5” | 254 | 10 | 410 | 16.14 | 216 | 8.5 | 254 | 10 | 280 | 11.02 | 8-22 | 8-0.86 | 19.1 | 0.75 |
| 6” | 267 | 10.51 | 453 | 17.83 | 241.5 | 9.5 | 279 | 10.98 | 300 | 11.81 | 8-22 | 8-0.86 | 19.1 | 0.75 |
| 8” | 292 | 11.49 | 532 | 20.94 | 298.5 | 11.75 | 343 | 13.5 | 350 | 13.77 | 8-22 | 8-0.86 | 22.2 | 0.87 |
| 10” | 330 | 12.99 | 646 | 25.43 | 362 | 14.25 | 406 | 15.98 | 400 | 15.74 | 12-25 | 12-0.98 | 23.8 | 0.93 |
| 12” | 356 | 14.01 | 733 | 28.85 | 432 | 17 | 483 | 19.01 | 500 | 19.68 | 12-25 | 12-0.98 | 25.4 | 1 |
| 14” | 381 | 15 | 908 | 35.74 | 476 | 18.74 | 533 | 20.98 | 600 | 23.62 | 12-29 | 12-1.14 | 25.4 | 1 |
| 16” | 406 | 15.98 | 965 | 37.99 | 539.5 | 21.24 | 597 | 23.5 | 600 | 23.62 | 16-29 | 16-1.14 | 25.4 | 1 |
| 18” | 432 | 17 | 1057 | 41.61 | 578 | 22.75 | 635 | 25 | 750 | 27.55 | 16-32 | 16-1.25 | 28.6 | 1.12 |
| 20” | 457 | 17.99 | 1190 | 46.85 | 635 | 25 | 699 | 27.51 | 750 | 27.55 | 20-32 | 20-1.25 | 28.6 | 1.12 |
| 24” | 508 | 20 | 1363 | 53.66 | 749.5 | 29.5 | 813 | 32 | 750 | 27.55 | 20-35 | 20-1.37 | 30.1 | 1.18 |
AWWA Gate Valve Design Standards
Some customers may be confused about the difference between AWWA C509 and AWWA C515 when purchasing an AWWA gate valve.
As a professional manufacturer of AWWA gate valves, we offer the following suggestions.
AWWA C509 and AWWA C515 are two different types of resilient-seated gate valve standards published by the American Water Works Association (AWWA).
Here are detailed descriptions and differences between these two standards:
AWWA C509 Standard
_
DEFINITION
The AWWA C509 standard covers the design, manufacture, materials, and performance requirements for resilient-seated wedge gate valves for water systems.
This standard primarily covers gate valves with an all-metal body, traditionally manufactured in cast iron or ductile iron.
KEY POINTS
● Body Material:
Typically cast iron or ductile iron.
● Seat Material:
Seats are typically made of a resilient material (such as rubber) that seals against the wedge gate.
● Pressure Rating:
Designed for operating pressures between 150 psi and 250 psi.
● Size Range:
Typically between 2 inches and 48 inches.
AWWA C515 Standard
_
DEFINITION
The AWWA C515 standard covers the design, manufacture, materials, and performance requirements for lightweight resilient seated wedge gate valves for water systems.
Compared to AWWA C509, the gate valves covered by AWWA C515 are typically lighter, use less material, and are typically made of ductile iron.
KEY POINTS
● Body Material:
Typically ductile iron, but designed to be lighter with optimized wall thickness.
● Seat Material:
Also a resilient material (such as rubber) that seals against the wedge gate.
● Pressure Rating:
Designed for operating pressures between 150 psi and 250 psi.
● Size Range:
Typically between 3 inches and 36 inches.
Differences Between AWWA C509 and AWWA C515
Body Design
_
● AWWA C509:
Traditional all-metal body design with a thicker, heavier body.
● AWWA C515:
Lightweight design with thinner body walls and lighter weight, using optimized materials.
Materials Used
_
● AWWA C509:
Typically made of cast iron or ductile iron with a relatively conservative design.
● AWWA C515:
Primarily made of ductile iron with a more modern design focused on reducing weight and increasing efficiency.
Structure and Performance
_
● AWWA C509:
Thicker body walls provide higher durability and strength.
● AWWA C515:
By thinning body walls and optimizing the design, the weight is reduced while still maintaining adequate strength and durability.
Applications
_
● AWWA C509:
Suitable for applications that require higher durability and strength, such as underground installations and high-pressure water systems.
● AWWA C515:
Suitable for applications that require lightweight and cost-effectiveness, such as medium- to low-pressure water systems and locations that require frequent maintenance.
Both AWWA C509 and AWWA C515 are standards for resilient-seated wedge gate valves, but the C515 standard is an improvement and optimization of the C509 standard, primarily focused on reducing weight and optimizing materials. The choice between valves conforming to either standard depends on specific application requirements and operating environments.