Single Air Valve

Single air valve is a device used in pipeline systems to automatically release air that has accumulated in the system. Its main job is to keep the fluid flowing smoothly by preventing air pockets from blocking the pipe, which helps keep the whole system running efficiently and reliably.

Single Orifice Air Release Valve with Thread Outlet

Single Air Valve with
Female Thread Outlet

Single Air Valve with Isolation Valve with Male Thread Outlet

Single Air Valve with Isolation
Valve with Male Thread Outlet

Single Orifice Air Release Valve with Isolation Valve

Single Air Valve with Brass Isolation Valve and Flange Outlet

VIDEO

Uses

Releasing Air from the Pipeline
_

In liquid pipelines, air tends to accumulate at high points or low-pressure areas, forming air pockets. The Single Air Valve automatically releases this air to prevent it from disrupting the flow of liquid.

Preventing Water Hammer
_

Air accumulation in pipelines can lead to water hammer (a sudden pressure surge caused by the rapid change in fluid flow), which can damage pipes and equipment. The Single Air Valve helps reduce or avoid water hammer by eliminating trapped air.

Maintaining Stable Pipeline Pressure
_

Air buildup can cause uneven pressure within the pipeline, affecting the overall efficiency of the system. The valve ensures the pipeline pressure remains stable by releasing excess air.

Improving System Efficiency
_

By removing air, the valve ensures that liquids flow smoothly through the pipeline, enhancing the overall efficiency and safety of the system.

Working Principle

Single Air Valve typically operates through a float (Figure 2 as below judberd drawing) or valve mechanism. When air is present in the pipeline, the valve opens, allowing the air to escape. Once the air is expelled, the float or valve closes to prevent the liquid from leaking. This process happens automatically without the need for manual intervention.

Single Air Valves are typically installed at high points or areas where air is likely to accumulate in the pipeline. They are commonly used in water supply, drainage, heating, and other fluid transportation systems.

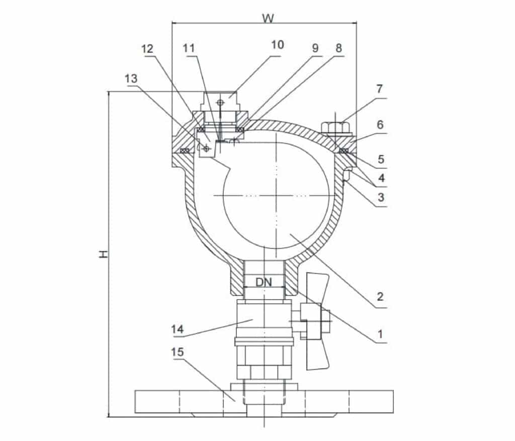
Drawing

Single Air Valve with Brass Isolation Valve and Flange Outlet
single air valve drawing

Single air valve, isolation valve(Figure 14) and flange(Figure 15) drawing

Material

No. Part Name Material
1 Body Ductile Iron
2 Float ABS
3 Nut Carbon Steel
4 Washer Carbon Steel
5 O-ring EPDM
6 Cover Ductile Iron
7 Hexagon Bolt Carbon Steel
8 Adjusting Screw Stainless Steel
9 Gasket EPDM
10 Cap Nylon/Brass
11 Seat EPDM
12 Bracket Nylon
13 Hinge Pin Stainless Steel
14 Isolation Valve Brass
15 Flange Ductile Iron

Dimension

DN W H
15 132 224
20 132 224
25 132 224
32 132 224

How to Choose Right Single Air Valve?

Choosing the right Single Air Valve (SAV) for different types of pipelines—such as drinking water, sewage, seawater,
and natural water with particles—requires understanding the unique needs of each medium.
Below is a detailed guide to help you choose the right Single Air Valve for different applications:

1,DRINKING WATER PIPELINE
_

● Requirements:

Health & Safety: The air valve must meet drinking water standards, ensuring it does not release harmful substances into the water.

Flow Rate: The valve size must match the flow rate in the pipeline.

Reliability: The valve must operate reliably over the long term without the risk of contaminating the water.

● Selection Steps:

Material: Choose materials that meet drinking water standards, such as stainless steel or specific plastics with relevant certifications. Avoid toxic materials like lead or those containing heavy metals.

Size & Specifications: Select the valve size based on the pipe’s flow rate and diameter. Smaller pipes may require valves ranging from DN50 to DN100.

Health Standards: Ensure the valve has certifications like NSF/ANSI 61 (or equivalent), ensuring the material is safe for drinking water.

Pressure Rating: Drinking water pipelines typically operate under normal pressures (typically 0.6-1.2 MPa). Choose a valve that can handle this pressure range.

Considerations: Ensure the valve has good sealing performance to avoid contaminating the water and choose materials that are resistant to corrosion, especially when dealing with potable water over the long term.

2,SEWAGE PIPELINE
_

● Requirements:

Blockage Prevention: The air valve design should prevent clogging from sludge or solid waste.

Corrosion Resistance: Sewage often contains acidic or corrosive substances that require a valve resistant to corrosion.

Ease of Maintenance: The valve should be easy to clean and maintain due to the nature of the medium.

● Selection Steps:

Material: Choose durable, corrosion-resistant materials like cast iron or stainless steel. Coatings like epoxy coatings can further protect the valve.

Size & Specifications: For larger sewage systems, you may require valves with larger sizes (e.g., DN100 to DN300). Ensure the valve size matches the pipe’s diameter and the flow you expect.

Float Ball Design: Look for air valves with special float ball designs to prevent blockage by sewage debris and solid waste.

Pressure Rating: Sewage pipelines typically operate at a pressure of 0.4-1.0 MPa, so choose an air valve that can handle this pressure.

Considerations: Regular maintenance and cleaning are critical for sewage systems to prevent clogging and ensure the air valve functions over the long term.

3,SEAWATER PIPELINE
_

● Requirements:

Corrosion Resistance: Seawater contains salts that can corrode metal materials, so the air valve needs to be highly resistant to saltwater corrosion.

Durability: Seawater pipelines require valves that can withstand harsh marine environments over the long term.

● Selection Steps:

Material: Choose materials with high saltwater resistance such as SS316L stainless steel or special alloys designed for seawater. Additionally, FBE coatings can offer extra protection against corrosion.

Size & Specifications: Seawater pipelines often have higher flow rates, requiring larger valve sizes, typically DN100 or higher.

Float Ball Design: Choose air valves with corrosion-resistant float balls to ensure functionality even in harsh marine environments.

Pressure Rating: Seawater systems typically operate at 0.6-1.0 MPa, so choose valves that can withstand this pressure.

Considerations: Routine maintenance is crucial in seawater applications to avoid salt buildup or other materials that might interfere with the valve’s performance.

4,NATURAL WATER WITH PARTICLES PIPELINE
_

● Requirements:

Particle Blockage Prevention: The air valve must be designed to prevent clogging by sand, silt, plant debris, and other particles.

Cleanability: The valve should allow for easy cleaning to prevent accumulation of particles that could block the float ball.

● Selection Steps:

Material: Choose materials that are resistant to abrasion and corrosion, such as stainless steel or corrosion-resistant alloys, to withstand the wear caused by particulate matter.

Size & Specifications: Match the valve size to the pipeline’s flow rate and diameter. Larger particles may require valves with larger ports to allow debris to pass through.

Float Ball Design: Look for valves with a larger float ball design or those equipped with particle filtering features to prevent particles from obstructing the float ball’s movement. Some valves come with built-in mesh filters or can be manually cleaned.

Pressure Rating: Choose valves rated for 0.4-1.2 MPa, which is typical for natural water systems. However, ensure the valve can handle potential pressure spikes due to water flow irregularities caused by particles.

Considerations: Regular inspection and cleaning are essential to prevent particles from blocking the valve’s float ball mechanism, ensuring it continues to function effectively.

GENERAL GUIDELINES FOR SELECTION
_

● Pressure:
Choose the appropriate pressure rating based on the design of the pipeline. Single Air Valves typically come with various pressure ratings (e.g., 0.4-1.2 MPa or higher). Always match the valve’s pressure rating with the pipeline’s operating pressure to avoid valve failure.

● Flow Rate:
To select the correct valve size, you must know the pipeline’s expected flow rate. Larger pipelines or those with higher flow rates will require valves with larger diameters. Flow rate tables provided by manufacturers can help determine the appropriate size for your pipeline system.

● Material Compatibility:
Always choose materials compatible with the pipeline’s medium.

For example:
Drinking water: Non-toxic, corrosion-resistant materials (e.g., SS304, plastic).
Sewage: Corrosion-resistant materials like cast iron with protective coatings.
Seawater: SS316L or special alloys with high corrosion resistance.
Natural water with particles: Abrasion-resistant materials like stainless steel.
Maintenance: Consider valves with easy-to-clean designs or those with built-in filtration systems to prevent clogging and ensure continuous performance.

By following these steps, you can ensure the Single Air Valve you select is suitable for your specific pipeline system,
providing reliable operation and maintaining the integrity of the pipeline medium.

Installation Guide

Installing a Single Air Valve (SAV) correctly is critical to ensuring the valve functions properly and the pipeline system operates efficiently.
Improper installation can lead to valve malfunction or pipeline failure.
Below is a step-by-step guide on how to install a Single Air Valve.

Preparation Before Installation

Inspect the Product
_

Check the valve specifications, size, and material to ensure they match your pipeline system requirements.

Inspect the valve for any debris or damage to internal components such as the float ball and seals.

Gather Tools
_

You may need tools like a wrench, screwdriver, sealant, bolts, gaskets, and a pressure gauge (if checking system pressure).

For pressurized pipelines, you may need additional tools to safely handle the pressure.

Check the Installation Location
_

Ensure the installation location is appropriate for the air valve. The valve should be installed at the highest point or bend in the pipeline to allow for the easy release of accumulated air.

Make sure there is ample space to operate and maintain the valve.

Installation Steps

1. Select the Proper Installation Location
_

Location: Typically, the Single Air Valve should be installed at the highest point or bend in the pipeline, where air naturally accumulates. The location should be accessible for maintenance and repairs.

Space: Ensure there is enough space around the valve to allow for future operation and inspection, especially for cleaning or checking the float ball.

2. Shut Down the Pipeline System
_

Before installation, shut down the pipeline system to ensure there is no pressure or flow of the medium in the pipeline.

For high-pressure systems, release the pipeline pressure before installation to avoid accidents.

3. Clean the Pipe Connection
_

Clean the pipe connection thoroughly to remove any debris, dirt, or oil. 

This ensures a proper seal and avoids leakage.

4. Install the Valve
_

Flanged Connection: If the valve uses a flanged connection, ensure the flanges are aligned properly, and use appropriate gasket seals. Bolt the valve securely onto the flanges, tightening the bolts evenly to ensure a good seal.

Threaded Connection: For threaded installations, ensure the pipe threads match the valve. Apply thread sealant (like PTFE tape or pipe sealant) to the threads, and then screw the valve onto the pipe tightly

Torque: Avoid over-tightening bolts or threaded connections, as this could damage the valve or threads.

5. Install the Float Ball (if applicable)
_

If the valve design includes a float ball, make sure the ball is installed correctly and can move freely without obstruction.

Ensure the float ball is not obstructed by debris or any parts that could restrict its motion, as this could affect the valve’s operation.

6. Check for Sealing
_

After installation, inspect all connections to ensure there are no leaks. Use a soap bubble test or perform a pressure test to check for leaks in the valve and pipe connections.

Ensure all seals and gaskets are intact and functioning correctly. If the valve includes a special sealing element, ensure it is in good condition and correctly positioned.

7. Reopen the Pipeline System
_

After completing the installation, slowly open the pipeline system’s valves to gradually restore pressure.

Open the air valve’s vent or air release port to allow any air trapped in the system to be discharged.

8. Test the Operation
_

Once the system is pressurized, observe the valve’s performance. The Single Air Valve should release any accumulated air from the pipeline.

Verify that the float ball moves freely and that the valve operates without obstruction.

Check for leaks around the valve’s connections. If there are any issues, shut down the system and recheck the installation.

Installation Considerations
_

Proper Support: Ensure the valve is properly supported and mounted to avoid strain on the pipe and valve from pipeline vibrations or pressure fluctuations.

Prevent Clogging: If the pipeline contains particulates or debris, consider choosing a valve with an integrated filter or anti-clogging design to prevent particles from obstructing the float ball’s movement.

Regular Maintenance: Regularly inspect the valve for any blockages or wear, especially in pipelines carrying wastewater or other particulate-laden fluids. Cleaning the valve periodically will ensure it continues to function properly.

Summary

Proper installation of a Single Air Valve ensures the pipeline system operates smoothly,
preventing air buildup that could cause pressure surges or other issues.
By following these steps, you can ensure the valve is installed correctly,
that it functions properly, and that your pipeline system remains efficient.
Regular inspection and maintenance are also key to keeping the valve in good working condition.

Common Problems, Causes, and Solutions for Single Air Valve Operation

Single Air Valve (SAV) is essential for maintaining the integrity and efficiency of pipeline systems by releasing accumulated air.
However, during its operation, several common problems may occur.
Below, we discuss these problems, their potential causes, and solutions.

1,Air Valve Fails to Open or Close Properly
_

● Potential Causes:

Blockage in the valve: Debris, dirt, or particles may clog the valve, preventing the float ball from moving.

Damaged or worn float ball: The float ball may be damaged, corroded, or stuck due to contamination, affecting its movement.

Incorrect installation: The valve may have been installed incorrectly, causing misalignment or malfunction.

Low pressure: The pressure in the pipeline may be too low to activate the valve correctly.

● Solutions:

Clean the valve: Remove any debris or build-up that may obstruct the float ball. If the valve has a filter or mesh, clean it regularly.

Inspect the float ball: Check if the float ball is intact, not corroded, and able to move freely. Replace it if damaged.

Reinstall the valve: Ensure the valve is installed in the correct orientation and position as per manufacturer guidelines. Check for any misalignment.

Adjust the pressure: Ensure the operating pressure in the pipeline meets the minimum pressure required for the valve to function.

2. Valve Leaks (Water, Air, or Both)
_

● Potential Causes:

Improper sealing: Leaking can occur if the valve’s seals or gaskets are worn or incorrectly installed.

Damaged components: If the valve body or internal components are cracked or damaged, leaks can occur.

Incorrect installation: If the valve is not properly aligned with the pipe, or if the installation torque is incorrect, leaks may develop.

Corrosion: Over time, exposure to harsh environments (like seawater or sewage) can cause corrosion of the valve material, leading to leaks.

● Solutions:

Check seals and gaskets: Inspect the seals, gaskets, and O-rings for wear or damage. Replace them if necessary.

Replace damaged components: If any internal components, such as the valve body or float mechanism, are cracked or damaged, replace them.

Reinstall the valve: If the valve was installed incorrectly, disassemble and reinstall it according to the manufacturer’s guidelines, ensuring proper alignment and torque.

Use corrosion-resistant materials: For valves in corrosive environments (like seawater or wastewater systems), ensure that the valve is made of corrosion-resistant materials like SS316L or special alloys.

3. Air Accumulation in the Pipeline is Not Properly Ventilated
_

● Potential Causes:

Valve size mismatch: If the valve is too small for the pipe size or flow rate, it may not vent air effectively.

Clogged venting port: The venting port may become clogged with debris or sediments, preventing air from being released.

Inadequate pressure: If the pipeline pressure is too low, it may not push air out effectively through the valve.

● Solutions:

Ensure proper valve size: Select the correct valve size based on the pipe diameter and flow rate. A valve that is too small for the pipeline may struggle to vent air.

Clean the vent port: Periodically check and clean the venting port or air release opening to ensure it’s free of debris or buildup.

Check and adjust pressure: Ensure the system operates at the correct pressure to allow the valve to function properly. If the pressure is too low, consider adjusting the system or using a valve that operates at lower pressures.

4. Valve Gets Stuck or Frozen
_

● Potential Causes:

Sediment or particulate matter: Particles in the pipeline can get lodged in the valve’s moving parts, especially the float ball, causing it to get stuck.

Corrosion or wear: Long-term exposure to harsh conditions or lack of maintenance can cause internal parts to corrode or seize up.

Temperature extremes: If the pipeline operates in extremely cold environments, the valve could freeze, preventing it from operating.

● Solutions:

Regular maintenance: Regularly clean the valve and its components, particularly the float ball, to prevent buildup of particles or sludge that could obstruct movement.

Lubricate parts: Ensure that moving components are properly lubricated to prevent sticking. However, ensure you use the correct lubricant as per manufacturer specifications.

Protect from freezing: In cold climates, use insulation or heating tape around the valve to prevent freezing. Alternatively, select valves designed for low-temperature environments.

5. Valve Continually Releases Air
_

● Potential Causes:

High air accumulation: The system may be experiencing excessive air buildup, causing the valve to release air continuously.

Faulty float ball mechanism: If the float ball is damaged or stuck in the “open” position, it may keep the valve open and release air continuously.

Improper valve sizing: If the valve is too large for the pipeline, it may not shut off properly, causing air to escape.

● Solutions:

Check for excessive air buildup: Monitor the system for air pockets or pressure surges. Ensure that the system is correctly designed to minimize excessive air accumulation.

Inspect the float ball: If the float ball is stuck or damaged, replace it or clean it to ensure proper operation.

Ensure proper sizing: If the valve is too large, replace it with one of the appropriate size for the pipe and flow rate. Ensure the valve can properly close when not releasing air.

6. Valve Blocks or Jams with Particulate Matter
_

● Potential Causes:

High particulate content in the medium: Pipelines transporting sewage, natural water, or other particulate-rich media can cause particles to clog the valve mechanism, especially the float ball.

Infrequent maintenance: Failure to clean the valve regularly can lead to the accumulation of debris that prevents smooth valve operation.

● Solutions:

Install a filter: Use a valve with an integrated filter or mesh to prevent larger particles from entering the valve.

Regularly clean the valve: For pipelines carrying particulate-laden media, clean the valve more frequently to remove any buildup that could obstruct the float ball.

Use a particle-resistant valve: Consider using valves designed for specific media, like those with robust float mechanisms that can withstand high levels of debris.

7. Valve Produces Noise During Operation
_

● Potential Causes:

Vibration or turbulence: High flow rates or pressure fluctuations can create turbulence in the valve, causing noise during air release.

Improper installation: If the valve is not securely installed, vibrations from the pipeline could cause noise.

Air pressure fluctuations: Rapid changes in air pressure can cause sudden noise as the valve releases air.

● Solutions:

Install in a quieter location: Install the valve where vibrations and turbulence are minimized, ideally in a more stable section of the pipeline.

Secure the valve: Ensure that the valve is firmly installed and supported to minimize vibration and noise.

Smooth pressure fluctuations: Implement pressure regulation devices to reduce sudden pressure changes in the pipeline.

By understanding the common problems that can occur with Single Air Valves, and knowing the potential causes and solutions, you can ensure that your valve operates smoothly and efficiently. Regular maintenance, proper sizing, and selecting the correct valve materials for the specific pipeline conditions are essential to avoid these problems and maximize the valve’s lifespan and performance.